专利权是由政府授予的一种垄断权利,使专利权人能够在有限的期间内阻止他人在未经其许可的情况下制造、销售、使用其专利技术。有些专利人认为只要申请成功就永远是自己的了,其实不然,,申请成功之后还需进行专利续费,这里的专利续费指的就是专利年费的缴纳。现在小编教教大家如何在【国家知识产权局】查询您的专利是否续费或者接下来每年的年费是多少?
1、第一步:登陆【国家知识产权局】,网址为:https://www.cnipa.gov.cn/

2、第二步:在【国家知识产权局】首页,找到(政务服务——专利)点击(专利审查信息查询)。

3、进入(公众查询),有注册账号的用户直接输入账号、密码,验证登录。没有注册的用户请选择(公众用户注册)。

4、(公众用户注册)按照页面提示,完善(手机号、电子邮箱、密码、确认密码、图片校验、验证码)点击【确定】。

5、进入(中国专利审查信息查询使用声明),点击(同意以上声明)点击【继续】。

6、进入专利查询页,按照要求(查询条件中的发明名称、申请号、申请人三者必须填一个。 输入的申请号/专利号必须为9位或13位,不需输入字母“ZL”,并且不能包含“.”)输入查询条件,点击【查询】。

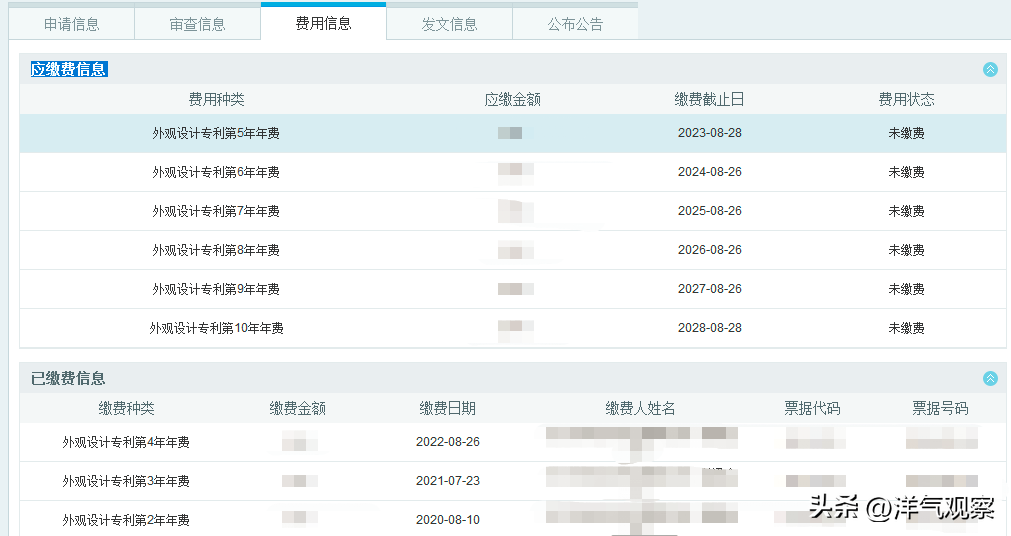
7、点击【费用信息】查看具体的费用情况

8、进入费用信息,可以查看(已缴费信息)(应缴费信息)等详细信息。

你学会查询了吗???